Предварительный УМ 2400МГц +23dBm
- Автор
- Сообщение
-
Не в сети
- Site Admin
- Сообщения: 905
- Зарегистрирован: 06 июн 2014 17:31
- Откуда: Молодечно
- Контактная информация:
Предварительный УМ 2400МГц +23dBm
Предварительный УМ 2400МГц +23dBm
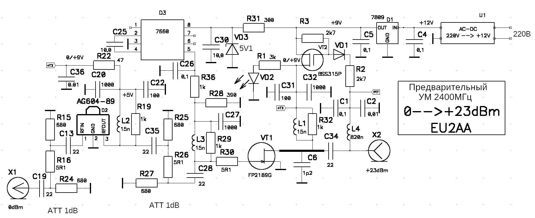
Предназначен для компенсации потерь в длинном кабеле, когда основной УМ вынесен к антенне, а маломощный трансивер (например, PLUTO) удобней держать на месте оператора
Навинчен прямо на разъем TX PLUTO +3dBm с PLUTO усиливает до +25dBm
-
Электрическая принципиальная ПУМ Сигнал РТТ - Открытый Коллектор NPN-транзистора - Прием/Передача=ХХ/0
-
Перечень элементов
-
Конденсаторы
C1,C4,C5,C26 - X7R - 0805 - 0,1 мкФ ±10 % - 4шт.
C2,C36 - X7R - 0805 - 0,01 мкФ ±10 % - 2шт.
C6 - NP0 - 0603 - 1,2 пФ ±5 % - 1шт.
C13,C19,C28,C34,C35 - NP0 - 0603 - 22 пФ ±5 % - 5шт.
C20,C27,C32 - X7R - 0805 - 1000 пФ ±5 % - 3шт.
C22,C31 - NP0 - 0805 - 100 пФ ±5 % - 2шт.
C25,C30 - X7R - 0805 - 16V - 10,0 мкФ ±10 % - 2шт.
-
Микросхемы
D1 - 7809 - 1шт.
D2 - AG604-89G - 1шт.
D3 - ICL7660 - 1шт.
-
Индуктивности
L1-L3 - 0603 - LQW18A-15нГн - 3шт. от 15нГн до 100нГн, размер 0603 или 0805
L4 - 0603 - LQW18A-820нГн
-
Резисторы
R1- RC- 0805 - 3 kОм ±5 % - 1шт.
R2,R3 - RC- 0805 – 2,7 kОм ±5 % - 2шт.
R15,R24,R25,R27 - RC- 0603 - 680 Ом ±5 % - 4шт.
R16,R26,R30 - RC- 0603 - 5,1 Ом ±5 % - 3шт.
R19,R29,R32,R36 - RC- 1206 - 1 kОм ±5 % - 4шт.
R22 - RC- 1206 - 470 Ом ±5 % - 1шт.
R28 - RC- 0805 - 390 Ом ±5 % - 1шт.
-
Диоды
VD1 - LL4148 - 1шт.
VD2 - LD0805HD - 1шт. *светодиод красный
VD3 - BZX84C5V1 - 1шт. *стабилитрон 5,1V
-
Транзисторы
VT1 - FP2189-G - 1шт.
VT2 - BSS315P - 1шт. замена КП507А
-
U1 - AC-DC ~220В --> +12В 0,5А *теплоотвод от FP2189G - 2 колонки на обороте платы,
теплоотвод от AG604-89G - 1 колонка,
Предназначен для компенсации потерь в длинном кабеле, когда основной УМ вынесен к антенне, а маломощный трансивер (например, PLUTO) удобней держать на месте оператора
Навинчен прямо на разъем TX PLUTO +3dBm с PLUTO усиливает до +25dBm
-
Электрическая принципиальная ПУМ Сигнал РТТ - Открытый Коллектор NPN-транзистора - Прием/Передача=ХХ/0
-
Перечень элементов
-
Конденсаторы
C1,C4,C5,C26 - X7R - 0805 - 0,1 мкФ ±10 % - 4шт.
C2,C36 - X7R - 0805 - 0,01 мкФ ±10 % - 2шт.
C6 - NP0 - 0603 - 1,2 пФ ±5 % - 1шт.
C13,C19,C28,C34,C35 - NP0 - 0603 - 22 пФ ±5 % - 5шт.
C20,C27,C32 - X7R - 0805 - 1000 пФ ±5 % - 3шт.
C22,C31 - NP0 - 0805 - 100 пФ ±5 % - 2шт.
C25,C30 - X7R - 0805 - 16V - 10,0 мкФ ±10 % - 2шт.
-
Микросхемы
D1 - 7809 - 1шт.
D2 - AG604-89G - 1шт.
D3 - ICL7660 - 1шт.
-
Индуктивности
L1-L3 - 0603 - LQW18A-15нГн - 3шт. от 15нГн до 100нГн, размер 0603 или 0805
L4 - 0603 - LQW18A-820нГн
-
Резисторы
R1- RC- 0805 - 3 kОм ±5 % - 1шт.
R2,R3 - RC- 0805 – 2,7 kОм ±5 % - 2шт.
R15,R24,R25,R27 - RC- 0603 - 680 Ом ±5 % - 4шт.
R16,R26,R30 - RC- 0603 - 5,1 Ом ±5 % - 3шт.
R19,R29,R32,R36 - RC- 1206 - 1 kОм ±5 % - 4шт.
R22 - RC- 1206 - 470 Ом ±5 % - 1шт.
R28 - RC- 0805 - 390 Ом ±5 % - 1шт.
-
Диоды
VD1 - LL4148 - 1шт.
VD2 - LD0805HD - 1шт. *светодиод красный
VD3 - BZX84C5V1 - 1шт. *стабилитрон 5,1V
-
Транзисторы
VT1 - FP2189-G - 1шт.
VT2 - BSS315P - 1шт. замена КП507А
-
U1 - AC-DC ~220В --> +12В 0,5А *теплоотвод от FP2189G - 2 колонки на обороте платы,
теплоотвод от AG604-89G - 1 колонка,
_________________
Владимир,
ex UC2CED, EU2CED, RC2CA, EU2CA
2019 год - https://observablehq.com/@eu2aa
2017 год - http://eu2aa.com
1992 год - http://eu2aa.qrz.ru
Владимир,
ex UC2CED, EU2CED, RC2CA, EU2CA
2019 год - https://observablehq.com/@eu2aa
2017 год - http://eu2aa.com
1992 год - http://eu2aa.qrz.ru
-
Не в сети
- Site Admin
- Сообщения: 905
- Зарегистрирован: 06 июн 2014 17:31
- Откуда: Молодечно
- Контактная информация:
Re: Предварительный УМ 2400МГц +23dBm
Монтажная схема платы ПУМ
Лицевая сторона Обратная сторона Можно использовать ЛЕВУЮ плату УМ10Вт
если у кого осталась в запасе.
Нумерация радиоэлементов ТАКАЯ ЖЕ, как и на предыдущей плате. Лишние элементы, относящиеся к вентилятору, цепи смещения MW4IC2020, DC-DC - паять не нужно
Элементы С1,C2,C4,C5,D1,L4,R1-R3,VD1,VD2,VT2,U1 - выполнить навесными.
Лицевая сторона Обратная сторона Можно использовать ЛЕВУЮ плату УМ10Вт
если у кого осталась в запасе.
Нумерация радиоэлементов ТАКАЯ ЖЕ, как и на предыдущей плате. Лишние элементы, относящиеся к вентилятору, цепи смещения MW4IC2020, DC-DC - паять не нужно
Элементы С1,C2,C4,C5,D1,L4,R1-R3,VD1,VD2,VT2,U1 - выполнить навесными.
_________________
Владимир,
ex UC2CED, EU2CED, RC2CA, EU2CA
2019 год - https://observablehq.com/@eu2aa
2017 год - http://eu2aa.com
1992 год - http://eu2aa.qrz.ru
Владимир,
ex UC2CED, EU2CED, RC2CA, EU2CA
2019 год - https://observablehq.com/@eu2aa
2017 год - http://eu2aa.com
1992 год - http://eu2aa.qrz.ru
-
Не в сети
- Сообщения: 86
- Зарегистрирован: 20 мар 2015 16:27
- Откуда: г.Слуцк
Re: Предварительный УМ 2400МГц +23dBm
Основные детали ещё в пути,а блок уже на месте:в разрыв выходного кабеля трансвертера.В общем там легко переключиться.
-
Не в сети
- Сообщения: 86
- Зарегистрирован: 20 мар 2015 16:27
- Откуда: г.Слуцк
Re: Предварительный УМ 2400МГц +23dBm
Получил детали: микросхему ICL7660 и вых. транзистор.Сегодня поставил на плату.Усилитель работает.Это видно так же и по индикатору поля ,нагрузка -облучатель.Выходной транзистор FP2189-G греется.Установить сверху на него небольшой радиатор?Там и отверствия на плате предусмотрены.Хотя с такой маленькой площадью какой там будет тепловой контакт...Или там теплообмена хватает через подложку на земляную шину?
-
Не в сети
- Site Admin
- Сообщения: 905
- Зарегистрирован: 06 июн 2014 17:31
- Откуда: Молодечно
- Контактная информация:
Re: Предварительный УМ 2400МГц +23dBm
1.Вырезать из листа алюминия 1мм пластину 30х25мм.VERN писал(а):Выходной транзистор FP2189-G греется.Установить сверху на него небольшой радиатор?Там и отверствия на плате предусмотрены.Хотя с такой маленькой площадью какой там будет тепловой контакт...Или там теплообмена хватает через подложку на земляную шину?
2.Возле FP2189G имеется 2 отверстия в плате.
Подпустить капельку теплопроводящей пасты КПТ-8 под транзистор
и прижать винтами к пластине 30х25х1мм на обороте, как к местному радиатору.
3.Аналогично AG604-89G, одним винтом к той же пластине + паста.
_________________
Владимир,
ex UC2CED, EU2CED, RC2CA, EU2CA
2019 год - https://observablehq.com/@eu2aa
2017 год - http://eu2aa.com
1992 год - http://eu2aa.qrz.ru
Владимир,
ex UC2CED, EU2CED, RC2CA, EU2CA
2019 год - https://observablehq.com/@eu2aa
2017 год - http://eu2aa.com
1992 год - http://eu2aa.qrz.ru
-
Не в сети
- Сообщения: 86
- Зарегистрирован: 20 мар 2015 16:27
- Откуда: г.Слуцк
Re: Предварительный УМ 2400МГц +23dBm
Понятно. Т.е. теплообмен происходит через земляную шину и пластину-радиатор.К сожалению у меня так не получится т.к. металл.отверствия-перемычки на обратной стороне платы протравлены и пришлось припаивать их вручную.Иными словами радиатор не пристанет.Поступил по рабоче-крестьянски.Медная пластина греется,значит охлаждает.
Сегодня поставил облучатель в фокус параболы,походил с индикатором поля-действительно излучает одним лучом.
Сегодня поставил облучатель в фокус параболы,походил с индикатором поля-действительно излучает одним лучом.
-
Не в сети
- Site Admin
- Сообщения: 905
- Зарегистрирован: 06 июн 2014 17:31
- Откуда: Молодечно
- Контактная информация:
Re: Предварительный УМ 2400МГц +23dBm
Юрий Михайлович,VERN писал(а):Понятно. Т.е. теплообмен происходит через земляную шину и пластину-радиатор.К сожалению у меня так не получится т.к. металл.отверствия-перемычки на обратной стороне платы протравлены и пришлось припаивать их вручную.
зачем?
Это просто наплывы маски.
Они никому не мешают.
Если поскрести эти ободки из зеленой маски, то под ними сплошная фольга. Звонится мультиметром.
На фото платы, заказанные у ELECROW.COM. Это их " ГЛЮК".
Одновременно по ОДИНАКОВЫМ GERBERам заказывал у четырех фирм: JLCPCB, PCBWAY, SEEEDSTUDIO и ELECROW. Такой ГЛЮК только у последней фирмы.
--
--
На фото в первом сообщении Темы видны винты М2,5 около AG604 и FP2189, а с обратной стороны можно навинтить - КОЛОНКИ-ТЕПЛООТВОДЫ с Н=15мм примерно
--
Регулировка
*по сегодняшним результатам Геннадия US3MW
Напряжение смещения на затвор VT1 FP2189G должно быть около минус 1,2В.
С26 можно увеличить при необходимости до 10,0 мкФ.
Ток покоя при +9В около 200мА.
Теплоотвод для VT1 FP2189G через 2 винта - на пару колок на обороте, либо на алюминиевую пластину 40х25х1мм
Убедитесь, что цепь РТТ включает +9В ТОЛЬКО на ПЕРЕДАЧУ.
Усиление: чтобы от 0dBm усиливал до +23dBm, а от +3dBm усиливал до +25dBm.
_________________
Владимир,
ex UC2CED, EU2CED, RC2CA, EU2CA
2019 год - https://observablehq.com/@eu2aa
2017 год - http://eu2aa.com
1992 год - http://eu2aa.qrz.ru
Владимир,
ex UC2CED, EU2CED, RC2CA, EU2CA
2019 год - https://observablehq.com/@eu2aa
2017 год - http://eu2aa.com
1992 год - http://eu2aa.qrz.ru
-
Не в сети
- Сообщения: 86
- Зарегистрирован: 20 мар 2015 16:27
- Откуда: г.Слуцк
Re: Предварительный УМ 2400МГц +23dBm
Да,действительно,ошибка вкралась.Я думал земляные перемычки на обратной стороне платы вытравлены,а они просто обведены краской...Но сейчас вряд ли стоит стягивать припой оплёткой.
"Минус" на затвор FP2189G у меня подаётся первым.
"Минус" на затвор FP2189G у меня подаётся первым.
-
Не в сети
- Site Admin
- Сообщения: 905
- Зарегистрирован: 06 июн 2014 17:31
- Откуда: Молодечно
- Контактная информация:
Re: Предварительный УМ 2400МГц +23dBm
Смотрим схемуVERN писал(а):"Минус" на затвор FP2189G у меня подаётся первым.
Минус 1,2В на затвор FP2189G подается ПОСТОЯННО.
Напряжение на оба каскада усиления подается только на ПЕРЕДАЧУ после замыкания РТТ на корпус, через ключ VT1 BSS315P, либо аналогичный, например AO3401A.
Этот же сигнал РТТ подается по центральной жиле кабеля через выходной разъем Х2 для управления оконечным УМ10Вт.
*экономим на длинных проводах.
_________________
Владимир,
ex UC2CED, EU2CED, RC2CA, EU2CA
2019 год - https://observablehq.com/@eu2aa
2017 год - http://eu2aa.com
1992 год - http://eu2aa.qrz.ru
Владимир,
ex UC2CED, EU2CED, RC2CA, EU2CA
2019 год - https://observablehq.com/@eu2aa
2017 год - http://eu2aa.com
1992 год - http://eu2aa.qrz.ru
-
Не в сети
- Сообщения: 86
- Зарегистрирован: 20 мар 2015 16:27
- Откуда: г.Слуцк
Re: Предварительный УМ 2400МГц +23dBm
О.К.Спасибо!
-
Не в сети
- Сообщения: 86
- Зарегистрирован: 20 мар 2015 16:27
- Откуда: г.Слуцк
Re: Предварительный УМ 2400МГц +23dBm
Испытал только сегодня ,хотя давно всё было готово, "Предварительный УМ 2400МГц +23dBm" в реальной работе через спутник в режиме" CW" пока без основного УМ.Принимал свой сигнал- на слух примерно на 4- 5 баллов."Толпы" там нет и по панораме легко обнаружить себя.
Оказалось,что сигнал 144 мгц на трансвертер надо подавать совсем небольшой, в смысле есть еще большой запас (до 2-х ватт), (в каждом моём самодельном трансивере я завёл хорошее правило устанавливать регулятор вых.мощн.)далее вых.сигнал 2400 мгц не растёт,но вылезают гармоники,что видно на той же панораме.Но совсем немного.Чтобы убедиться,что принимал сам себя через спутник,а не напрямую ,конечно,немного отворачивал антенну.SSB тоже слышно,но слабее,здесь ты больше мешаешь"сам себе".SDR+комп.не лучший вариант-очень большое время обработки принимаемого сигнала.
Привожу две фотографии, почти "Полевой день".
Оказалось,что сигнал 144 мгц на трансвертер надо подавать совсем небольшой, в смысле есть еще большой запас (до 2-х ватт), (в каждом моём самодельном трансивере я завёл хорошее правило устанавливать регулятор вых.мощн.)далее вых.сигнал 2400 мгц не растёт,но вылезают гармоники,что видно на той же панораме.Но совсем немного.Чтобы убедиться,что принимал сам себя через спутник,а не напрямую ,конечно,немного отворачивал антенну.SSB тоже слышно,но слабее,здесь ты больше мешаешь"сам себе".SDR+комп.не лучший вариант-очень большое время обработки принимаемого сигнала.
Привожу две фотографии, почти "Полевой день".
-
Не в сети
- Site Admin
- Сообщения: 905
- Зарегистрирован: 06 июн 2014 17:31
- Откуда: Молодечно
- Контактная информация:
Re: Предварительный УМ 2400МГц +23dBm
Юрий Михайлович,VERN писал(а):SSB тоже слышно,но слабее,здесь ты больше мешаешь"сам себе".SDR+комп.не лучший вариант-очень большое время обработки принимаемого сигнала.
поздравляю!
SSB всегда слабее. И раскачка с 144МГц в первую очередь.
При передаче на SSB, (чтобы не мешать самому себе) нужно отключать громкость.
На моем LENOVO я задействовал клавишу F1 - отключение звука динамиков.
Задержка есть, и за счет прохождения сигнала, и из-за цифровой обработки в SDR PLUTO.
Сейчас я свой SDR PLUTO отключил, вставил в свой новый трансивер .
Когда нужно, переставлю назад на место QO-100 и проведем QSO.
_________________
Владимир,
ex UC2CED, EU2CED, RC2CA, EU2CA
2019 год - https://observablehq.com/@eu2aa
2017 год - http://eu2aa.com
1992 год - http://eu2aa.qrz.ru
Владимир,
ex UC2CED, EU2CED, RC2CA, EU2CA
2019 год - https://observablehq.com/@eu2aa
2017 год - http://eu2aa.com
1992 год - http://eu2aa.qrz.ru