Дельта на 160 м
- Автор
- Сообщение
-
Не в сети
- Сообщения: 426
- Зарегистрирован: 06 мар 2013 19:56
Дельта на 160 м
Смастерил себе треугольник на 160 м. Материал - полёвка не расплетенная, периметр - 165 м, высота подвеса по углам - 55 м; 45 м; 10 м (наклон на 310 градусов). Кабель 50 ом - 56 метров, в точке запитки запорный дроссель на кольце от отклоняющей системы.
Анализатора и КСВ-метра нету, поэтому проверял работу антенны по прибору на трансивере. В результате проверки такие результаты: 1,8 - 60 Вт, 3,5 - 100 Вт, 7 - 100 Вт, 10 - 100 Вт, 14 - 20 Вт, 18 - 100 Вт, 21 - 100 Вт, 24 - 20 Вт, 28 - 20 Вт. Еще заметил, что на прием на диапазонах от 3,5 до 28 антенна не очень, хотя периметр большой должно быть наоборот, сравниваю прием на инвертед 40/80. Инвертед принимает на 2 балла громче. (Есть в голове мысли, что это из-за материала антенны - полевка).
Пробовал работать на 1,8, Ростов дал 59, дальних не было больше.
Конечно антенна делалась на 1,8, а все остальное это как бонус)). Пока не получается найти частоту от 2.0 МГц и выше где бы 100 Вт прибор показывал, от этого и плясал бы укорачивать или удлинять.
Анализатора и КСВ-метра нету, поэтому проверял работу антенны по прибору на трансивере. В результате проверки такие результаты: 1,8 - 60 Вт, 3,5 - 100 Вт, 7 - 100 Вт, 10 - 100 Вт, 14 - 20 Вт, 18 - 100 Вт, 21 - 100 Вт, 24 - 20 Вт, 28 - 20 Вт. Еще заметил, что на прием на диапазонах от 3,5 до 28 антенна не очень, хотя периметр большой должно быть наоборот, сравниваю прием на инвертед 40/80. Инвертед принимает на 2 балла громче. (Есть в голове мысли, что это из-за материала антенны - полевка).
Пробовал работать на 1,8, Ростов дал 59, дальних не было больше.
Конечно антенна делалась на 1,8, а все остальное это как бонус)). Пока не получается найти частоту от 2.0 МГц и выше где бы 100 Вт прибор показывал, от этого и плясал бы укорачивать или удлинять.
-
Не в сети
- Site Admin
- Сообщения: 2599
- Зарегистрирован: 26 май 2009 04:38
- Откуда: РБ
Re: Дельта на 160 м
Первый раз вижу, чтоб КСВ измеряли мощностью, ALC рулит 
КСВ больше 3. С таким подходом так и должно быть.
Что в вашем случае делает запорный дросель, и нахрен он там нужен ??????
Высота подвеса этой антенны позволяет получить великолепный результат.
Продолжайте изобретать велосипед с квадратными колёсами. Удачи
P.S.
Если много лишнего РК кабеля, то можно его ещё "пошинковать" на куски и найти резонанс
Многие это считают тоже достижением в антенностроении.
КСВ больше 3. С таким подходом так и должно быть.
Что в вашем случае делает запорный дросель, и нахрен он там нужен ??????
Высота подвеса этой антенны позволяет получить великолепный результат.
Продолжайте изобретать велосипед с квадратными колёсами. Удачи
P.S.
Если много лишнего РК кабеля, то можно его ещё "пошинковать" на куски и найти резонанс
Многие это считают тоже достижением в антенностроении.
_________________
73! Сергей ex.EU2A, UC2CBT, UC2-009-602, Citizen Band - Лайнер, 251. On the air since 1980
Site Admin QRZ.BY
73! Сергей ex.EU2A, UC2CBT, UC2-009-602, Citizen Band - Лайнер, 251. On the air since 1980
Site Admin QRZ.BY
-
Не в сети
- Site Admin
- Сообщения: 1474
- Зарегистрирован: 27 ноя 2009 21:55
- Откуда: г. Лида
Re: Дельта на 160 м
Алексей, иначе говоря, ваттметром вы ищете резонанс антенны? Хм-м-м...EW1HI писал(а):... В результате проверки такие результаты: 1,8 - 60 Вт, 3,5 - 100 Вт...
Пока не получается найти частоту от 2.0 МГц и выше где бы 100 Вт прибор показывал, от этого и плясал бы укорачивать или удлинять.
Всё же лучше пойти правильным путём - используя КСВ-метр, найти резонанс антенны в родном для неё диапазоне и сместить его на нужную частоту удлинением-укорочением длины полотна антенны. Остальные диапазоны - только с РА из-за высокого КСВ.
Или придется возиться с катушками в плечах запитки...
_________________
73, Павел EU4A ex EU4AA, UC2IO etc.
73, Павел EU4A ex EU4AA, UC2IO etc.
-
Не в сети
- Сообщения: 426
- Зарегистрирован: 06 мар 2013 19:56
Re: Дельта на 160 м
Спасибо Павел за рекомендации. Антенну делаю только на 160...поэтому остальные диапазоны в принципе не нужны, проверял ради любопытства ну и как резерв.
Естественно без анализатора и КСВ-метра не получится настроить, поэтому работа продолжается)).
-
Не в сети
- Site Admin
- Сообщения: 2599
- Зарегистрирован: 26 май 2009 04:38
- Откуда: РБ
Re: Дельта на 160 м
Или катушки или искать точку запитки.
При таком включении 50 ом там и близко не будет.
Без трансформации сопротивления ни куда
Можно конечно и высотой играться, чтоб 50ом сделать. Но это уже садомазо.
При таком включении 50 ом там и близко не будет.
Без трансформации сопротивления ни куда
Можно конечно и высотой играться, чтоб 50ом сделать. Но это уже садомазо.
_________________
73! Сергей ex.EU2A, UC2CBT, UC2-009-602, Citizen Band - Лайнер, 251. On the air since 1980
Site Admin QRZ.BY
73! Сергей ex.EU2A, UC2CBT, UC2-009-602, Citizen Band - Лайнер, 251. On the air since 1980
Site Admin QRZ.BY
-
Не в сети
- Сообщения: 454
- Зарегистрирован: 03 фев 2013 17:23
Re: Дельта на 160 м
рекомендую переделать питание антенны
симметричной линией из двух 75 омных кабелей
оплетки надо соединить между собой на обоих концах и ни куда не подключать
две центральные как симметричная линия 150 ом
согласовывать рамку в шеке используя симметричный тюнер
положительный результат гарантирую
симметричной линией из двух 75 омных кабелей
оплетки надо соединить между собой на обоих концах и ни куда не подключать
две центральные как симметричная линия 150 ом
согласовывать рамку в шеке используя симметричный тюнер
положительный результат гарантирую
_________________
Ex UN7QBQ Виктор
Ex UN7QBQ Виктор
-
Не в сети
- Сообщения: 426
- Зарегистрирован: 06 мар 2013 19:56
Re: Дельта на 160 м
Виктор спасибо за дельный совет, как вариант супер. (в шеке стоит тюнер т-образный.) 73!un7qbq писал(а):рекомендую переделать питание антенны
симметричной линией из двух 75 омных кабелей
оплетки надо соединить между собой на обоих концах и ни куда не подключать
две центральные как симметричная линия 150 ом
согласовывать рамку в шеке используя симметричный тюнер
положительный результат гарантирую
Последний раз редактировалось EW1I 07 мар 2014 21:09, всего редактировалось 1 раз.
-
Не в сети
- Сообщения: 426
- Зарегистрирован: 06 мар 2013 19:56
Re: Дельта на 160 м
Как бы все оно понятно....фидер 50 ом, нету у меня КСВ-метра - это дело наживное ....одно пока не понятно почему плохой прием...разница на других диапазонах сразу очевидна...2 балла
-
Не в сети
- Сообщения: 454
- Зарегистрирован: 03 фев 2013 17:23
Re: Дельта на 160 м
модель не идеальна за минуту слепил высоту 45м поставил (наклон не моделировал)
с 1.8 до 7 входное в районе 200 ом реально меньше будет (140-150)
на 14 и 21 около 400 ом (реальлно меньше дома между которыми она весит со стальной арматурой влияние которой значительно )
на счет приема- антенна большая должна принимать хорошо но и мусора электромагнитного гребет больше, на деле 6DBI на 1.8 и 14DBI на 14 и 21 ромашка на 14 и 21 и в зенит на 1.8
на 3.5 8DBI
антенна симметрична и кольцо на оплетки только картину портит и сильно повлияет на прием
трансформатор с тремя обмотками как от АНГАРЫ и то лучше бы работал
поставить симметрирующий трансформатор после т тюнера и симметричный фидер улучшит картину
ММАНА прога позволит экономить время и материалы не пожалейте время на ее изучение
с 1.8 до 7 входное в районе 200 ом реально меньше будет (140-150)
на 14 и 21 около 400 ом (реальлно меньше дома между которыми она весит со стальной арматурой влияние которой значительно )
на счет приема- антенна большая должна принимать хорошо но и мусора электромагнитного гребет больше, на деле 6DBI на 1.8 и 14DBI на 14 и 21 ромашка на 14 и 21 и в зенит на 1.8
на 3.5 8DBI
антенна симметрична и кольцо на оплетки только картину портит и сильно повлияет на прием
трансформатор с тремя обмотками как от АНГАРЫ и то лучше бы работал
поставить симметрирующий трансформатор после т тюнера и симметричный фидер улучшит картину
ММАНА прога позволит экономить время и материалы не пожалейте время на ее изучение
- Вложения
-
delta.maa- (382 байт) 2239 скачиваний
_________________
Ex UN7QBQ Виктор
Ex UN7QBQ Виктор
-
Не в сети
- Site Admin
- Сообщения: 1103
- Зарегистрирован: 31 окт 2011 13:08
- Откуда: Lida,KO23pv
Re: Дельта на 160 м
Трижды в разных местах делал дельту на 160м.EW1HI писал(а):Смастерил себе треугольник на 160 м. Материал - полёвка не расплетенная, периметр - 165 м, высота подвеса по углам - 55 м; 45 м; 10 м (наклон на 310 градусов). Кабель 50 ом - 56 метров, в точке запитки запорный дроссель на кольце от отклоняющей системы.
Конечно антенна делалась на 1,8, а все остальное это как бонус)).
Последний раз вертикальную с использованием в качестве опор 2 труб котельной высотой 90 и 45м.
Все эти антенны были с горизонтальной поляризацией
и в 2 последних случаях в качестве полотна биметалл БСМ 4 мм. Кабель 75- омный.
По поводу запитки:
1.Запорный дроссель ни в коем случае не ухудшит работу антенны.
2.Т.к. вх. сопротивление будет свыше 100 Ом - то 50-Омный кабель не пригоден.
3.При использовании в качестве многодиапазонной антенны Вам предложили
очень хороший вариант с использованием симметричной линии,
только Т-тьюнер не пригоден в данном случае.
4.Если использовать ант. только на 160м - то можно ее согласовать
с 50-омным входом с помощью четвертьволнового трансформатора
(с учетом коэф. укорочения) из 75-омного кабеля.
Для кабеля типа РК75-9-12 - это около 27 метров. Далее 50-омный кабель
произвольной длины или напрямую без него к Вашему тьюнеру.
Кроме всего прочего при запитке только 27м отрезком 75-омного кабеля он будет
кратен половине волны на более высокочастотных диапазонах и трансформировать
сопротивление один к одному, а тьюнер обеспечит для трансивера 50-омную нагрузку.
73, Казимир
-
Не в сети
- Сообщения: 376
- Зарегистрирован: 03 мар 2013 13:59
Re: Дельта на 160 м
Возможно кого заинтересует вертикальная "дельта" от RZ0CJ, описание http://qrz-e.ru/forum/29-20-1
_________________
73! Gene
А1 +375 29 651-93-23, Viber
73! Gene
А1 +375 29 651-93-23, Viber
-
Не в сети
- Сообщения: 426
- Зарегистрирован: 06 мар 2013 19:56
Re: Дельта на 160 м
Спасибо огромное Александру (EW1DO) сегодня заскочил в гости с анализатором. Вот что показал прибор подключенный к антенне:
частота 1.830
ксв - 3.9
R - 142
X - 0
частота 1.920
ксв - 5.3
R - 53
X - 80
Исследования продолжаются
частота 1.830
ксв - 3.9
R - 142
X - 0
частота 1.920
ксв - 5.3
R - 53
X - 80
Исследования продолжаются
-
Не в сети
- Сообщения: 454
- Зарегистрирован: 03 фев 2013 17:23
Re: Дельта на 160 м
да делай симметричное питание как говорил и будет отлично!
на 1830 реактивность 0 входное близко к 150 омам то что надо
если только на 160 работать можно транс 1*3 поставить
на 1830 реактивность 0 входное близко к 150 омам то что надо
если только на 160 работать можно транс 1*3 поставить
_________________
Ex UN7QBQ Виктор
Ex UN7QBQ Виктор
-
Не в сети
- Сообщения: 426
- Зарегистрирован: 06 мар 2013 19:56
Re: Дельта на 160 м
Виктор спасибо, за совет, антенну делаю только на 160 и уже с советами и исследованиями кое что ясно...все в в процессе. 73!un7qbq писал(а):да делай симметричное питание как говорил и будет отлично!
на 1830 реактивность 0 входное близко к 150 омам то что надо
если только на 160 работать можно транс 1*3 поставить
-
Не в сети
- Сообщения: 426
- Зарегистрирован: 06 мар 2013 19:56
Re: Дельта на 160 м
Коллеги, спасибо за помощь и реальные советы при настройке антенны, изготовил и установил трансформатор 4:1 на ферритовом кольце (примерная проницаемость 1000) провод 2 х 2.5 (по схеме Константина, EW2M). Естественно надо опробовать .... из проведенных QSO самая дальняя Испания (телеграф), есть еще UA9Y (телефон) но он в группе работал не верю что он меня слышал))), а я его реально принимал 54 - 55.
Пока анализатором не измерял, что там получилось. По первым впечатлениям при работе на 160 м ... вроде не плохо.
OK1WWJ EW1HI 1828.0 cq cq 599+ 2202z 13 Mar ( в кластере подсмотрел ).
Пока анализатором не измерял, что там получилось. По первым впечатлениям при работе на 160 м ... вроде не плохо.
-
Не в сети
- Site Admin
- Сообщения: 1103
- Зарегистрирован: 31 окт 2011 13:08
- Откуда: Lida,KO23pv
Re: Дельта на 160 м
Посмотрите здесь http://www.reversebeacon.net/dxsd1/dxsd ... ew1hi&t=dx
73, Казимир
73, Казимир
-
Не в сети
- Сообщения: 403
- Зарегистрирован: 20 янв 2013 19:17
Re: Дельта на 160 м
Пригоден. После Т ставится ТРансформаторEW4MM писал(а): По поводу запитки:
3.При использовании в качестве многодиапазонной антенны Вам предложили
очень хороший вариант с использованием симметричной линии,
только Т-тьюнер не пригоден в данном случае.
-
Не в сети
- Сообщения: 590
- Зарегистрирован: 15 мар 2013 22:13
Re: Дельта на 160 м
Для перекрытия широкой полосы частот 1,8 - 30 мГц, такие тр-ры выполняют на ферритах.EW1LN писал(а): Пригоден. После Т ставится ТРансформатор
Небольшого размера тр-ры малопригодны, особенно при работе с усилителем мощности.
Каждый раз, когда феррит нагревается, а он действительно греется в трансформаторе на выходе СУ,
он входит в насыщение, появляются микротрещины в феррите, приводящие его к медленному разрушению.
Это приводит к высокой степени вероятности производства помех бытовой аппаратуре
и практика это подтверждает.
Исключение: Применение тр-ров с очень большим сечением феррита, например,
от СУ р\ст Береза (см. фото ниже - обмотка из толстой медной шины!)
или еще больших размеров тр-р от СУ р/ст Р-161.
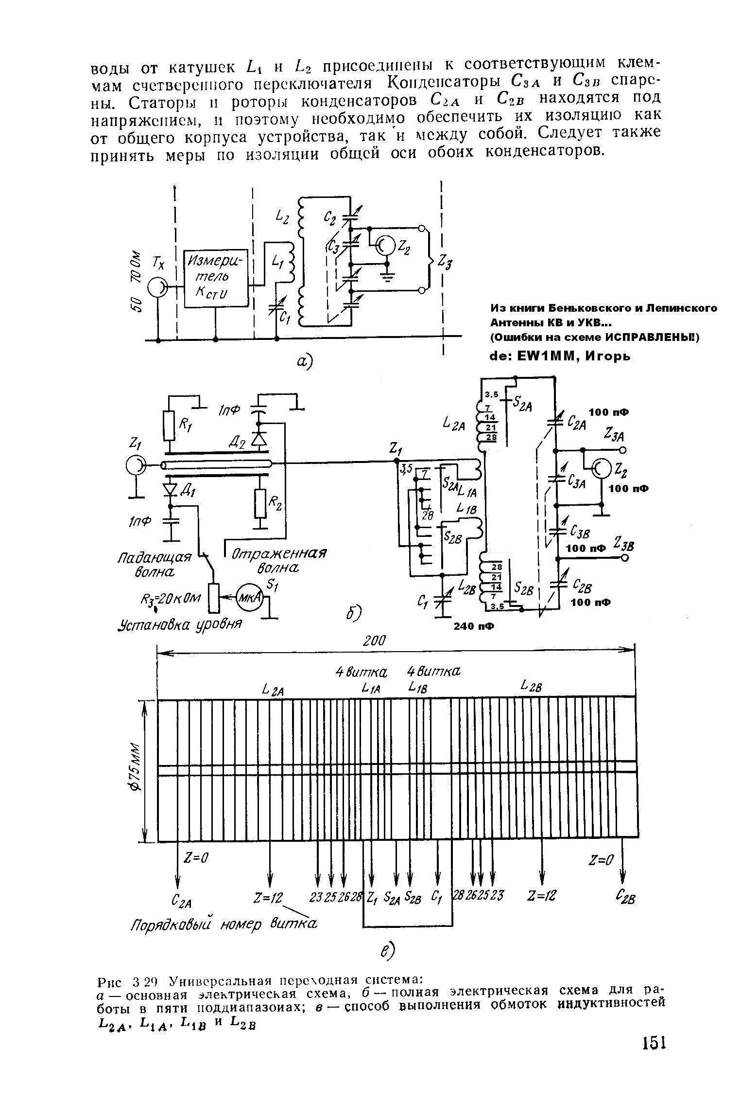
Все же для большинства наиболее приемлемо применение симметричного СУ,
где самой схемой заложен симметричный выход, например, из книги Беньковского, Лепинского
или др, но без применения ферритов.
Такое СУ 100% симметричное.
Оно дает точное согласование, в отличии от схем с тр-рами на ферритах, которые имеют фиксированный коэффициент трансформации.
Симметричное СУ не дает помех бытовой аппаратуре, обеспечивает очень хорошую симметрию выхода согласующего устройства,
что очень важно при использовании симметричного фидера.
Схемы Т-образного и симметричного СУ показаны ниже.
Последний раз редактировалось EW1MM 11 мар 2015 19:35, всего редактировалось 3 раза.
-
Не в сети
- Сообщения: 559
- Зарегистрирован: 06 окт 2013 17:15
Re: Дельта на 160 м
Где фото?